丝芭仍持有鞠婧祎姓名商标 当前状态均为已注册


据报道,12月16日,鞠婧祎工作室联合律师连续发布声明,明确指控前经纪公司丝芭传媒伪造合约、恶意诉讼,并强调双方经纪合约已于2024年6月15日依法解除。
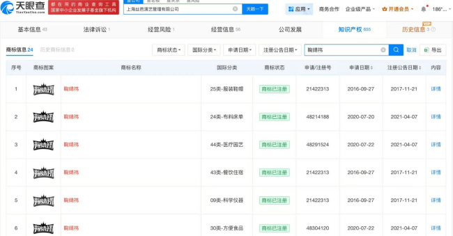
天眼查知识产权信息显示,上海丝芭演艺管理有限公司已注册多枚“鞠婧祎”商标,国际分类涉及服装鞋帽、布料床单等,当前商标状态均为已注册。
相关阅读 更多
-
曾毅“不雅手表”风波后首更动态!晒凤凰传奇合照 时间:2025-12-25 -
牛夫人小甜甜是什么梗?揭秘网络热词背后的爱情反差梗,一秒get流行文化! 时间:2025-12-25 -
牛高梗是什么梗?揭秘网络热词背后的搞笑真相,看完秒懂! 时间:2025-12-25 -
曾艳芬回应丝芭让人陪酒:竟不知道说实话也成造谣 时间:2025-12-25 -
温峥嵘再发律师声明回应被盗直播片段 时间:2025-12-25 -
想知道牛梗是什么梗吗?揭秘网络热词背后的搞笑故事,快来了解这个爆火梗的由来吧! 时间:2025-12-25
今日更新
-
《英雄联盟》德玛西亚杯2025赛程表-赛制与规则详解
阅读:18
-
英雄联盟海克斯大乱斗头戴式装备都有啥
阅读:18
-
暗黑破坏神2存档修改器最新版下载-暗黑破坏神2修改器安装包下载
阅读:18
-
英雄联盟海克斯大乱斗物转法玩法攻略
阅读:18
-
126邮箱登录入口网页版直达-126邮箱网页版快速登录入口
阅读:18
-
英雄联盟手游英雄之夜宝箱如何快速升级
阅读:18
-
英雄联盟怎么批量分解英雄碎片
阅读:18
-
掌上英雄联盟位置信息如何关闭
阅读:18
-
掌上英雄联盟如何查看云顶排名
阅读:18
-
掌上英雄联盟如何退出登录
阅读:18










